复合材料结构分析是对由复合材料构成的具体构件,以基本力学性能为基础,考虑构件所处的边界条件,计算其应力与应变的分布规律。这些内容被称为复合材料结构力学。这些基本件包括杆、梁、板、壳等结构元件。
涉及的知识:材料力学、弹性力学、单层复合材料力学、层合板复合材料力学、有限元素法基础、结构动力学基础、高等数学、线性代数
对于复合材料的构件进行结构分析时,均假定其在载荷作用下变形很小,且在弹性变形范围内,因此采用弹性力学的基本方法。
设u、v、w为直角坐标系下的位移分量,ϵx、ϵy、ϵz、γyz、γzx、γxy为应变分量,则在小变形条件下,它们的关系,即几何方程为:
ϵx=∂x∂u,ϵy=∂y∂v,ϵz=∂z∂wγyz=∂z∂v+∂y∂w,γzx=∂x∂w+∂z∂u,γxy=∂y∂u+∂x∂v⎭⎪⎪⎪⎬⎪⎪⎪⎫
将上式中消去位移u、v、w后可得:
∂x∂y∂2γxy=∂y2∂2ϵx+∂x2∂2ϵy∂y∂z∂2γyz=∂z2∂2ϵy+∂y2∂2ϵz∂z∂x∂2γzx=∂x2∂2ϵz+∂z2∂2ϵx2∂y∂z∂2ϵx=∂x∂(−∂x∂γyz+∂y∂γzx+∂z∂γxy)2∂z∂x∂2ϵy=∂y∂(∂x∂γyz−∂y∂γzx+∂z∂γxy)2∂x∂y∂2ϵz=∂z∂(∂x∂γyz+∂y∂γzx−∂z∂γxy)⎭⎪⎪⎪⎪⎪⎪⎪⎪⎪⎪⎪⎪⎪⎪⎪⎪⎪⎪⎪⎪⎪⎬⎪⎪⎪⎪⎪⎪⎪⎪⎪⎪⎪⎪⎪⎪⎪⎪⎪⎪⎪⎪⎪⎫
这就是连续性方程,也叫变形协调条件。
三维弹性力学的平衡方程为:
∂x∂σx+∂y∂τxy+∂z∂τxz+fx=0∂x∂τxy+∂y∂σy+∂z∂τyz+fy=0∂x∂τzx+∂y∂τyz+∂z∂σz+fz=0⎭⎪⎪⎪⎪⎪⎪⎪⎬⎪⎪⎪⎪⎪⎪⎪⎫
fx、fy和fz为体力(外力)。在很多问题时,可以忽略体力,即:
∂x∂σx+∂y∂τxy+∂z∂τxz=0∂x∂τxy+∂y∂σy+∂z∂τyz=0∂x∂τzx+∂y∂τyz+∂z∂σz=0⎭⎪⎪⎪⎪⎪⎪⎪⎬⎪⎪⎪⎪⎪⎪⎪⎫
对各向异性材料,其物理方程为:
⎣⎢⎢⎢⎢⎢⎢⎢⎡σ1σ2σ3τ23τ31τ12⎦⎥⎥⎥⎥⎥⎥⎥⎤=⎣⎢⎢⎢⎢⎢⎢⎢⎡C11C21C31000C12C22C32000C13C23C33000000C44000000C55000000C66⎦⎥⎥⎥⎥⎥⎥⎥⎤⎣⎢⎢⎢⎢⎢⎢⎢⎡ϵ1ϵ2ϵ3γ23γ31γ12⎦⎥⎥⎥⎥⎥⎥⎥⎤
或⎣⎢⎢⎢⎢⎢⎢⎢⎡ϵ1ϵ2ϵ3γ23γ31γ12⎦⎥⎥⎥⎥⎥⎥⎥⎤=⎣⎢⎢⎢⎢⎢⎢⎢⎡S11S21S31000S12S22S32000S13S23S33000000S44000000S55000000S66⎦⎥⎥⎥⎥⎥⎥⎥⎤⎣⎢⎢⎢⎢⎢⎢⎢⎡σ1σ2σ3τ23τ31τ12⎦⎥⎥⎥⎥⎥⎥⎥⎤
⎣⎢⎢⎢⎢⎢⎢⎢⎡σxσyσzτyzτzxτxy⎦⎥⎥⎥⎥⎥⎥⎥⎤=⎣⎢⎢⎢⎢⎢⎢⎢⎡C11C21C31C41C51C61C12C22C32C42C52C62C13C23C33C43C53C63C14C24C34C44C54C64C15C25C35C45C55C65C16C26C36C46C56C66⎦⎥⎥⎥⎥⎥⎥⎥⎤⎣⎢⎢⎢⎢⎢⎢⎢⎡ϵxϵyϵzγyzγzxγxy⎦⎥⎥⎥⎥⎥⎥⎥⎤
或⎣⎢⎢⎢⎢⎢⎢⎢⎡ϵxϵyϵzγyzγzxγxy⎦⎥⎥⎥⎥⎥⎥⎥⎤=⎣⎢⎢⎢⎢⎢⎢⎢⎡S11S21S31S41S51S61S12S22S32S42S52S62S13S23S33S43S53S63S14S24S34S44S54S64S15S25S35S45S55S65S16S26S36S46S56S66⎦⎥⎥⎥⎥⎥⎥⎥⎤⎣⎢⎢⎢⎢⎢⎢⎢⎡σxσyσzτyzτzxτxy⎦⎥⎥⎥⎥⎥⎥⎥⎤
弹性力学微分方程有6个应力分量、6个应变分量合3个位移分量,共15个未知函数,恰好有15个方程。
在解弹性力学问题时,根据求解方法和边界条件不同,可以归纳为三类基本问题:
l(σx)Sσ+m(τyx)Sσ+n(τzx)Sσ=fx(Sσ)m(σy)Sσ+n(τzy)Sσ+l(τxy)Sσ=fy(Sσ)n(σz)Sσ+l(τxz)Sσ+m(τyz)Sσ=fz(Sσ)⎭⎪⎪⎪⎬⎪⎪⎪⎫
其中l、m、n为Sσ边界的外法线与x、y和z轴分别的夹角余弦。应力下标Sσ表示应力在Sσ边界处。fx(Sσ)、fy(Sσ)和fz(Sσ)是Sσ边界处x、y和z方向的面力(外力)分量。(u)Su=u(Su)(v)Su=v(Su)(w)Su=w(Su)⎭⎪⎪⎬⎪⎪⎫
位移下标Su表示应力在Su边界处。u(Su)、v(Su)和w(Su)是Su边界处约束位移分量。σijnj=fi(Sσ)(u)Su=u(Su)(v)Su=v(Su)(w)Su=w(Su)⎭⎪⎪⎪⎪⎪⎬⎪⎪⎪⎪⎪⎫
其中应力边界条件是按照指标符号记法的。如图所示,由单层叠合成的复合梁,在承受弯矩时有两种状态。一种是(a)的层合梁,另一种是(b)的板梁。

如图所示,由单层叠合而成的层合梁,假定载荷作用在对称面上,梁的变形满足等直线法线假设,层合梁的平截面变形后仍保持平面(γzx=γyz=ϵz=0);同时假定梁的弯曲呈柱状变形(v=0且∂y∂u=∂y∂w=0)。

考察梁在Oxy平面内的变形,结合层合板的几何关系,由柱状变形假设可得层合板弯曲的几何关系:
ϵx=∂x∂u0−z∂x2∂2w0ϵy=∂y∂v0−z∂y2∂2w0=0γxy=∂y∂u0+∂x∂v0=0⎭⎪⎪⎪⎪⎪⎪⎪⎪⎬⎪⎪⎪⎪⎪⎪⎪⎪⎫(3.1.1.1)
其中,u0、v0和w0为参考面出的位移分量。
每个板可看成平面应力状态,对于第k层,按胡克定律其应力为:
σx(k)=Q11(k)ϵx=Q11(k)(∂x∂u0−z∂x2∂2w0)σy(k)=Q12(k)ϵx=Q12(k)(∂x∂u0−z∂x2∂2w0)τxy(k)=Q16(k)ϵx=Q16(k)(∂x∂u0−z∂x2∂2w0)⎭⎪⎪⎪⎪⎪⎪⎪⎬⎪⎪⎪⎪⎪⎪⎪⎫(3.1.1.2)
对应力沿梁高度积分,分别得到梁的内力和内力矩为:
Nx=A11∂x∂u0−B11∂x2∂2w0Ny=A12∂x∂u0−B12∂x2∂2w0Nxy=A16∂x∂u0−B16∂x2∂2w0Mx=B11∂x∂u0−D11∂x2∂2w0My=B12∂x∂u0−D12∂x2∂2w0Mxy=B16∂x∂u0−D16∂x2∂2w0⎭⎪⎪⎪⎪⎪⎪⎪⎪⎪⎪⎪⎪⎪⎪⎪⎪⎪⎪⎪⎬⎪⎪⎪⎪⎪⎪⎪⎪⎪⎪⎪⎪⎪⎪⎪⎪⎪⎪⎪⎫(3.1.1.3)
其中Aij、Bij和Dij分别是梁的面内刚度系数、耦合刚度系数和弯曲刚度系数:
Aij=k=1∑NQij(k)(zk+1−zk)Bij=21k=1∑NQij(k)(zk+12−zk2)Dij=31k=1∑NQij(k)(zk+13−zk3)
由于面内力Nx=0,代入到(3.1.1.3)第一式得:
∂x∂u0=A11B11∂x2∂2w0(3.1.1.4)
代入到(3.1.1.3)第四式得:
∂x2∂2w0=B112−A11D11A11Mx(3.1.1.5)
可改写为:
∂x2∂2w0=DMx
其中,D被称为层合梁的抗弯刚度:
D=A11B112−A11D11
当层合梁是以中面对称铺设时B11=0,有D=−D11。
得梁的挠度:
w0(x)=D1∫[∫Mx(x)dx]dx+C1x+C2(3.1.1.6)
将(3.1.1.4)和(3.1.1.5)代入到(3.1.1.2)中,得到部分应力:
σx(k)=Q11(k)B112−A11D11A11(A11B11−z)Mxσy(k)=Q12(k)B112−A11D11A11(A11B11−z)Mxτxy(k)=Q16(k)B112−A11D11A11(A11B11−z)Mx⎭⎪⎪⎪⎪⎪⎪⎪⎪⎬⎪⎪⎪⎪⎪⎪⎪⎪⎫(3.1.1.7)
若将(3.1.1.4)和(3.1.1.5)代入到(3.1.1.3),也可求得部分内力和内力矩关系:
Nx=0Ny=B112−A11D11A12B11−A11B12MxNxy=B112−A11D11A16B11−A11B16MxMx=MxMy=B112−A11D11B11B12−A11D12MxMxy=B112−A11D11B11B16−A11D16Mx⎭⎪⎪⎪⎪⎪⎪⎪⎪⎪⎪⎪⎪⎪⎪⎪⎪⎪⎬⎪⎪⎪⎪⎪⎪⎪⎪⎪⎪⎪⎪⎪⎪⎪⎪⎪⎫
可以看出,在柱状弯曲状态下,内力Ny、Nxy、My和Mxy均不为零。即:要使层合梁形成柱状弯曲,除了加载弯矩和剪力外,还要在边界处提供上述内力方向的外载荷。
对于非对称铺层的层合梁,中性面并不是几何中面。如图所示,非对称层合梁几何中面上作用一轴向力N,

沿几何中面各店的内力和内力矩分别为Nx0=N和Mx0=0,带入到(3.1.1.3)的第一式和第四式中:
∂x∂u0=A11D11−B112D11N∂x2∂2w0=A11D11−B112B11N⎭⎪⎪⎪⎪⎬⎪⎪⎪⎪⎫(3.1.2.1)
另一方面,假定中性面是距几何中面为za的ab面,则按中性面的定义,曲率可表示为:
∂x2∂2w0=A11D11−B112A11Nza(3.1.2.2)
将(3.1.2.1)的第二式和(3.1.2.2)对比,得中性面的位置:
za=A11B11
除纯弯梁以外,通产在横向载荷作用下,将产生Oxy面内剪应力。如图所示,在集中载荷作用下简支梁的剪力图、弯矩图以及微元体应力内力分布图。

注意:为了使弹性力学和材料力学的梁的剪力、弯矩正方向一致,按如图所示放置坐标系。即:x轴为梁的长度方向,向右为正;y轴为梁的宽度方向,向外为正,z轴为梁的厚度方向,向下为正。
与各向同性梁一样,在层合梁的横截面将存在与剪力方向平行的剪应力τxz,其内部也存在平行于横截面法线的剪应力τzx。在梁的a−a和b−b处截出长为dx的一段微元体。再截取相距参考面zi的m−n截面以上的部分amnb,画出其微元应力分量。
微元体在x方向平衡,即∑X=0,设梁宽为b,则有:
∫zi2hσx(k)bdz+τzx(k)bdx=∫zi2h(σx(k)+dσx(k))bdz
从而:
τzx(k)=dx1∫zi2hdσx(k)dz
将(3.1.1.7)的第一式代入上式,得:
τzx(k)=B112−A11D11A11dxdMx[A11B11∫zi2hQ11(k)dz−∫zi2hQ11(k)zdz]
对于对称层合梁,B11=0,于是其剪应力可化简为:
τzx(k)=D11Qx∫zi2hQ11(k)zdz
注意到:
∫zi2hQ11(k)zdz=i=k∑n/2Q11(k)∫zkzk+1zdz=i=k∑n/2Q11(k)Sk
其中Sk为zk处单位宽度层合梁对于参考轴的静矩:
Sk=2(zk+1+zk)(zk+1−zk)
于是对称层合梁剪应力公式为:
τzx(k)=D11Qxi=k∑n/2Q11(k)Sk(3.1.3.1)
板梁的高度较大而宽度较小,与平板的面内受力状态相似,通常是处于平面应力状态。
如图所示,一段受有集中载荷一段固定的悬臂梁。

为了计算简便,此时板梁为单层板,选取的坐标系不与材料主轴重合。
按照力法求解弹性力学方程。体力视为零,设应力函数为F(x,y),则:
σx=∂y2∂2F(x,y)σy=∂x2∂2F(x,y)τxy=−∂x∂y∂2F(x,y)⎭⎪⎪⎪⎪⎪⎪⎪⎪⎬⎪⎪⎪⎪⎪⎪⎪⎪⎫(3.2.1)
下面按照半逆解法求解应力函数。
由于上下边界无任何外力,则σy=0,即:
σy=∂x2∂2F(x,y)=0
将上面方程对x作两次积分:
F(x,y)=xf1(y)+f2(y)(3.2.2)
平面应力状态的物理方程为:
⎣⎢⎡ϵxϵyγxy⎦⎥⎤=⎣⎢⎡S11S21S61S12S22S62S16S26S66⎦⎥⎤⎣⎢⎡σxσyτxy⎦⎥⎤(3.2.3)
变形协调方程为:
∂y2∂2ϵx+∂x2∂2ϵy=∂x∂y∂2γxy(3.2.4)
将(3.2.1)代入到(3.2.3),再代入到(3.2.4)得平面问题的基本方程:
S22∂x4∂4F(x,y)−2S26∂x3∂y∂4F(x,y)+(2S12+S66)∂x2∂y2∂4F(x,y)−2S16∂x∂y3∂4F(x,y)+S11∂y4∂4F(x,y)=0(3.2.5)
再将(3.2.2)代入到上式,同时令D=−2S16,E=S22得:
Ddy3d3f1(y)+Exdy4d4f1(y)+Edy4d4f2(y)=0
要使上述方程对任意x均成立,应有:
dy4d4f1(y)=0Ddy3d3f1(y)+Edy4d4f2(y)=0⎭⎪⎪⎪⎪⎬⎪⎪⎪⎪⎫(3.2.6)
由上式的第一式得:
f1(y)=B1y3+B2y2+B3y+B4
将上式代入到(3.2.6)第二式中:
f2(y)=C1y4+C2y3+C3y2+C4y+C5
将上面两式回代到(3.2.2)中,并略去不影响应力分布的一次项及常数项:
F(x,y)=B1xy3+B2xy2+B3xy+C1y4+C2y3+C3y2(3.2.7)
模型中有以下边界条件:
将条件1的(τxy)y=±h=0代入到(3.2.1)的第三式和(3.2.7)得:
−3B1h2+2B2h+B3=−3B1h2−2B2h+B3
则B2=0。于是可把(3.2.7)写成:
F(x,y)=A1xy+A2y2+A3y3+A4xy3+A5y4(3.2.8)
将上式代入(3.2.1)得:
σx=2A2+6A3y+6A4xy+12A5y2σy=0τxy=−A1−3A4y2⎭⎪⎪⎬⎪⎪⎫(3.2.9)
将上式代入边界条件得:
A1+3A4h2=0A2+2A5h2=0A1+A4h2=−2hPA3+A4l=0
除此之外,将(3.2.8)代入到(3.2.5)中,得:
A4=2S16S11A5
由以上五个方程解得:
A1=−4h3P,A2=−4hPS11S16,A3=4h3Pl,A4=4h3P,A5=8h3PS11S16
将上述解代入(3.2.9)得梁的应力:
σx=23h3P(l−x)y−2S11S16h3P(h2−3y2)σy=0τxy=43h3P(h2−y2)⎭⎪⎪⎪⎪⎪⎪⎬⎪⎪⎪⎪⎪⎪⎫(3.2.10)
于是其分布情况如图所示:

由此可见,对于x方向拉压与xy面剪切耦合的单层复合材料板梁(S16=0),弯曲时σx不是关于几何中面对称分布的;但τxy与各向同性梁一样,沿高度呈抛物线分布。
将上面的应力解代入物理方程,再代入到几何方程得位移函数:
u=4h3P[−3S11(2l−x)xy+S16(h2−3y2)x+(S112S162−S12−S66)y3−3S16ly2]v=4h3P[−2S12(l−x)y2−S112S16(h2−y2)y+S26(3h2−y2)y+S11(3l−x)x2+(3S66−S112S162)h2x]⎭⎪⎪⎪⎪⎪⎪⎪⎪⎪⎪⎪⎪⎪⎬⎪⎪⎪⎪⎪⎪⎪⎪⎪⎪⎪⎪⎪⎫(3.2.11)
梁中心线的最大挠度,即在x=l、y=0处的v为:
vmax=4h3Pl3[2S11+l2h2(3S66−S11S16)](3.2.12)
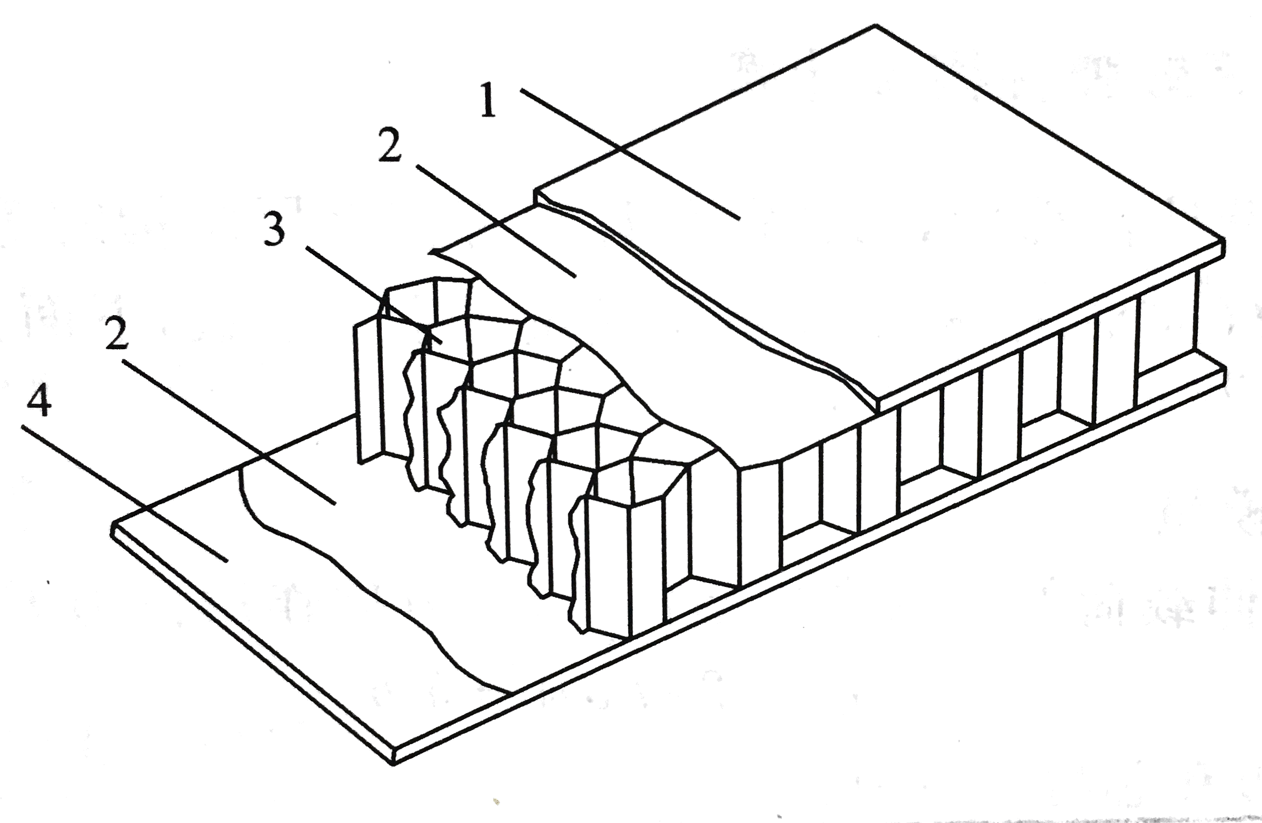
板结构在承受弯矩时,远离中面的层可以提供较大的抗弯刚度。因此在设计承弯结构时把弹性模量大、强度高的材料配置在远离中面的部位,中面附近受力较小,可使用强度和模量较低的材料。夹层板和夹层梁就是这类结构的典型例子。
如图所示,夹层结构通常由三部分组成,最外层是面板,也被称蒙皮;中间是芯材,常用的有泡沫塑料、金属或非金属材料制成的蜂窝和波纹板;将面板和芯材连接在一起的是胶结层。

夹层结构的面板主要承受弯曲变形引起的正应力。芯子主要承受剪应力。胶结层主要承受剪应力。
对夹层板做如下假设:
如图所示,在面板为层合板、芯材为各向同性材料构成的夹层板上,设立直角坐标系Oxyz,xy平面为芯材几何中面,z轴向下。其上作用弯矩扭矩Mx、My和Mxy,以及剪力Qyz和Qxz。

芯材:
由假设2得:
∂z∂τyz=0,∂z∂τxz=0
设芯材厚度为hc。于是
τyz=hcQyzτxz=hcQxz⎭⎪⎪⎪⎬⎪⎪⎪⎫
芯材的剪切模量为Gc,代入物理方程,结合几何方程得:
γxz=∂x∂w+∂z∂u=GchcQxzγyz=∂y∂w+∂z∂v=GchcQyz⎭⎪⎪⎪⎬⎪⎪⎪⎫
由ϵz=0得w=w0(x,y)。令C=Gchc,将上式对z积分得:
u=u0(x,y)−z(∂x∂w0(x,y)−CQxz)v=v0(x,y)−z(∂y∂w0(x,y)−CQyz)⎭⎪⎪⎪⎬⎪⎪⎪⎫
令:
ϕx=∂x∂w0−CQxzϕy=∂y∂w0−CQyz⎭⎪⎪⎪⎬⎪⎪⎪⎫(4.1.1)
结合w的函数,得芯材的位移函数:
u=u0−zϕxv=v0−zϕyw=w0⎭⎪⎪⎬⎪⎪⎫(4.1.2)
其中−hc/2≤z≤hc/2。
可以看出,ϕx和ϕy是芯材的转角,u0和v0是参考面的面内位移。
板面:
以下面板为例,由于面板为平面应力状态(τyz=τxz=σz=0),代入单层的偏轴物理方程得:γxz=γyz=0,又已假设ϵz=0,则可用经典层合板理论分析面板。
取直角坐标系O2xyz2,它是由坐标系Oxyz向下平移到下面板的几何中面形成的,于是
z2=z−h2(4.1.3)
由经典层合板理论得:
u=u02(x,y)−z2∂x∂w02(x,y)v=v02(x,y)−z2∂y∂w02(x,y)w=w02(x,y)⎭⎪⎪⎪⎪⎪⎪⎬⎪⎪⎪⎪⎪⎪⎫
其中−t2/2≤z2≤t2/2,t2为下面板的厚度,则有:
hc/2=h2−t2/2(4.1.4)
胶结层很薄,在芯材和面板接触面上视作没有相对滑动。所以位移函数u、v和w在接触面处连续。又由于w0(w,y)与w02(x,y)与z无关,即二者不沿厚度变化,所以w02=w0。则上式可写为:
u=u02(x,y)−z2∂x∂w0(x,y)v=v02(x,y)−z2∂y∂w0(x,y)w=w0(x,y)⎭⎪⎪⎪⎪⎪⎪⎬⎪⎪⎪⎪⎪⎪⎫(4.1.5)
在芯材和下面板接触面上,z=hc/2、z2=−t2/2。代入到(4.1.2)和(4.1.5)中,此时两组函数表示相同的点的位移情况,二者应该相等:
u0−2hcϕx=u02+2t2∂x∂w0v0−2hcϕy=v02+2t2∂y∂w0
即得到下板面的中面位移:
u02=u0−2hcϕx−2t2∂x∂w0v02=v0−2hcϕy−2t2∂y∂w0w02=w0⎭⎪⎪⎪⎪⎪⎬⎪⎪⎪⎪⎪⎫(4.1.6)
将上式代入到(4.1.5)中:
u=u0−2hcϕx−2t2∂x∂w0−z2∂x∂w0v=v0−2hcϕy−2t2∂y∂w0−z2∂y∂w0w=w0(x,y)⎭⎪⎪⎪⎪⎪⎬⎪⎪⎪⎪⎪⎫
由(4.1.3)和(4.1.4)得:z2=z−t2/2−hc/2。将其代入上式中,并注意到(4.1.1)得:
u=u0+2hcCQxz−z∂x∂w0v=v0+2hcCQyz−z∂y∂w0w=w0⎭⎪⎪⎪⎪⎪⎬⎪⎪⎪⎪⎪⎫(4.1.7)
其中hc/2≤z≤hc/2+t2。
同理得上板面的中面位移为:
u01=u0+2hcϕx+2t2∂x∂w0v01=v0+2hcϕy+2t2∂y∂w0w01=w0⎭⎪⎪⎪⎪⎪⎬⎪⎪⎪⎪⎪⎫(4.1.8)
上板面的位移函数为:
u=u0−2hcCQxz−z∂x∂w0v=v0−2hcCQyz−z∂y∂w0w=w0⎭⎪⎪⎪⎪⎪⎬⎪⎪⎪⎪⎪⎫(4.1.9)
其中−hc/2≤z≤−hc/2−t2。
综合(4.1.2)、(4.1.7)和(4.1.9)得整个夹层板的位移函数:
u=⎩⎪⎪⎨⎪⎪⎧u0−2hcCQxz−z∂x∂w0(−hc/2−t1/2≤z≤−hc/2)u0−zϕx(−hc/2≤z≤hc/2)u0+2hcCQxz−z∂x∂w0(hc/2≤z≤hc/2+t2/2)v=⎩⎪⎪⎨⎪⎪⎧v0−2hcCQyz−z∂y∂w0(−hc/2−t1/2≤z≤−hc/2)v0−zϕy(−hc/2≤z≤hc/2)v0+2hcCQyz−z∂y∂w0(hc/2≤z≤hc/2+t2/2)w=w0⎭⎪⎪⎪⎪⎪⎪⎪⎪⎪⎪⎪⎪⎪⎬⎪⎪⎪⎪⎪⎪⎪⎪⎪⎪⎪⎪⎪⎫(4.1.10)
上下面板的中面位移为:
u0i=u0−2hcϕx±2ti∂x∂w0v0i=v0−2hcϕy±2ti∂y∂w0w0i=w0⎭⎪⎪⎪⎪⎪⎬⎪⎪⎪⎪⎪⎫(4.1.11)
i=1,2分别表示上、下面的量。当i=1时,±号取−号;当i=2时,±号取+号。
航空航天器结构设计中常用的夹层结构是蜂窝芯层。目前工程中比较广泛应用的是六边形蜂窝夹层结构。
如图所示蜂窝夹层的结构:

上、下面板的厚度分别为t1和t2,密度分别为ρ1和ρ2;胶结层的厚度为tp,密度为ρp;蜂窝夹层结构整体的长度、宽度和高度分别为a、b和h。于是蜂窝芯高度为:
hc=h−(t1+t2+2tp)
于是蜂窝夹层结构的密度为:
ρ=abhabt1ρ1+abt2ρ2+2abtpρp+abhcρc=ht1ρ1+ht2ρ2+2htpρp+(1−ht1+t2+2tp)ρc
其中,ρc为蜂窝芯子的等效密度。
通常蜂窝夹层结构的上、下面板厚度相同,且由同样的层合板制成,即t1=t2=tf,ρ1=ρ2=ρf,而蜂窝芯的密度ρc比ρf要小很多,且tp很小,故h2tpρc项可以略去,于是上式简化为:
ρ=h2tfρf+h2tpρp+(1−h2tf)ρc(4.2.1.1)
下面计算蜂窝芯材的等效密度。
如图所示,取出六边形蜂窝芯中阴影部分的矩形,作为考虑密度的基本单元。

蜂窝壁材料密度为ρs。按图的尺寸,蜂窝芯材的密度为:
ρc=(d+ccosθ)(ccosθ+ts)(d+c)tshcρs
正六边形蜂窝芯的θ=60∘,于是上式变为:
ρc=1.54ρscts(4.2.1.2)
将上式代入到(4.2.1.1)中,得蜂窝夹层结构的密度为:
ρ=h2tfρf+h4tpρp+1.54cts(1−h2tf)ρs(4.2.1.3)
在蜂窝夹层结构的设计计算中,通常需要计算蜂窝夹层结构的等效面内拉伸模量、蜂窝夹层结构的等效剪切模量、蜂窝芯材的平拉(平压)模量和蜂窝芯材的剪切模量等主要参数。
如图所示,蜂窝夹层结构受面内拉伸载荷。

则:
P=2σftfb+σchcb
其中,σf、σc分别为面板和芯材的应力。若ϵx为夹层结构的平均应变,ϵfx和ϵcx分别为面板和芯材的应变,Efx和Ecx分别为面板和芯材在x方向的拉伸模量,则上式可写成:
Exϵxhb=2Efxϵfxtfb+Ecxϵcxhcb
夹层结构在受拉伸是的变形协调条件为:
ϵx=ϵfx=ϵcx
从而有:
Ex=Efxh2tf+Ecxhhc
由于蜂窝芯材在x、y方向上的拉伸模量甚小,工程上可忽略,则:
Ex=Efxh2tf
对于x、y方向正方对称的面板Efx=Efy=Ef:
Ex=Ey=Efh2tf(4.2.2.1.1)
如图所示,蜂窝夹层结构承受Oxz平面、Oyz平面和Oxy平面内的剪切,在这两种载荷作用下,夹层结构将出现不同变形。

蜂窝夹层在Oxz平面和Oyz平面的剪切模量
(b)所示为Oxz平面的Qxz载荷作用下的变形情况:
Δ=2Δf+Δc
假定蜂窝芯材的剪应变γc,面板的剪应变为γf,结构的总剪应变为γx,则上式可写成
γxh=2tfγf+hcγc
若面板和芯材内相应的剪应力分别为τf和τc,夹层结构的相当剪应力为τx。夹层结构在Oxz面的剪切模量为Gxz,面板和芯材在Oxz面的剪切模量分别为Gfxz和Gcxz。则上式变成:
Gxzτx=2tfGfxzτf+hcGcxzτc
由于面板和芯材胶结在一起,τx=τc=τf,于是得:
Gxz1=Gfxz2tf+Gcxzhc(4.2.2.2.1)
同理得Oyz面的剪切模量:
Gyz1=Gfyz2tf+Gcyzhc(4.2.2.2.2)
蜂窝夹层在Oxy平面的剪切模量
(c)所示为夹层结构在Oxy面内的Qxy作用下的变形,此时整个夹层结构在Oxy面内的相当应力为:
τxy=hbQxy
若面板和芯材的剪应力分别为τfxy和τcxy,则有:
Qxy=τxyhb=2τfxytfb+τcxyhcb
即:
Gxyγxyh=2Gfxyγfxytf+Gcxyγcxyhc
由变形协调条件可知γxy=γfxy=γcxy,从而得:
Gxy=Gfxyh2tf+Gcxyhhc
由于Gcyx≈0,所以蜂窝夹层结构Oxy面内的剪切模量为:
Gxy=Gfxyh2tf(4.2.2.2.3)
通常将平行于蜂窝壁重叠连接的方向定为x方向,称为纵向;于其垂直的方向定为y方向,称为横向。在计算夹层结构的剪切模量时,需知芯材的剪切模量Gcxz和Gcyz,二者往往并不相同。
横向剪切模量Gcxz
如图所示,蜂窝芯在Oyz面受剪时的剪流图。

取阴影部分为基本单元体。这个单元体内只有一个蜂窝边受剪,设这个边所受剪流为T。蜂窝芯材材料的剪切模量为Gs,厚度为ts。由于Ecx很小,故x方向的边的拉伸应变能可略去。则此单元体的应变能为:
U=2Gscts(cT)2hc=2GstschcT2
将此基本单元折合为一个等体积均质实心的相当体(图中(c)所示),此相当体在y方向所取单元体有相同的剪切模量。则此相当体在y方向所承受的剪应力为
τyz=(d+ccosθ)csinθcTsinθ
由于为正六边形蜂窝(d=c、θ=60∘),则:
τyz=3c2T
此相当体的在y方向的剪切模量也为Gcxz,相当体的应变能为:
U=2Gcyzτyz2csinθ(d+ccosθ)hc=63GcyzT2hc
相当体与单元体的应变能应该相等:U=U,即:
2GstschcT2=63GcyzT2hc
于是:
Gcyz=33ctsGs≈0.58ctsGs
结合(4.2.1.2)得:
Gcyz=0.38ρsρcGs(4.2.2.3.1)
上式表明蜂窝芯材的横向剪切模量与芯子的密度成正比。
纵向剪切模量Gcyz
如图所示,蜂窝芯在Oxz面受剪时的剪流图。

同前面的分析一样。同样设蜂窝壁上的剪流为T,则单元体应变能为:、
U=22Gscts(cT)2hc=GstsT2chs
其等体积均质实心体相当体的剪应力为:
τxz=(d+ccosθ)csinθcT+cTcosθ=3c2T
相当体的应变能为:
U=2Gcyzτyz2csinθ(d+ccosθ)hc=2Gcxz3T2hc
二者应变能相等,U=U:
GstsT2chs=2Gcxz3T2hc
于是:
Gcxz=0.866ctsGs
结合(4.2.1.2)得:
Gcxz=0.562ρsρcGs(4.2.2.3.2)
可以看出蜂窝芯的纵向剪切模量也与蜂窝芯的密度成正比。
如图所示,夹层结构在z向受拉伸载荷P。

设面板和芯材分别产生应变ϵfz和ϵcz,夹层结构整体的应变为ϵz。则z向的总变形为:
ϵzh=2ϵfztf+ϵczhc
即:
ϵz=ϵfzh2tf+ϵczhhc
夹层结构在z方向的模量为Ez,面板和芯材的z向模量分别为Efz和Ecz,按上式并用胡克定律得:
Ezσz=Efzσfzh2tf+Eczσczhhc
由于z向受载,夹层结构的面板和芯材为串联,故各部分的z向应力相等,即σz=σfz=σcz,所以:
Ez1=Efz1h2tf+Ecz1hhc(4.2.2.4.1)
其中,芯材的平拉(或平压)模量Ecz,对于六边形蜂窝芯有:
Ecz=ρsρcEs(4.2.2.4.2)
本文章使用limfx的vsocde插件快速发布